
石けんのポンプみたいな感じでにゅーっと伸びてくる仕組みになっているみたいですねこれ。
スポンサーリンク
[WIPO: WO2022010648 VIDEO GAME CONTROLLER WITH COLLAPSIBLE CONTROL STICK]
こちらはタイトルにある通り米SIE LLCが出願した物で、基本的にPSプラットフォームのゲーム機は国内の株SIEで開発されているので、PSハードとして完成した形では無く、周辺機器として持ち運びやすいコントローラを開発する中で出願された特許なのかもしれません。
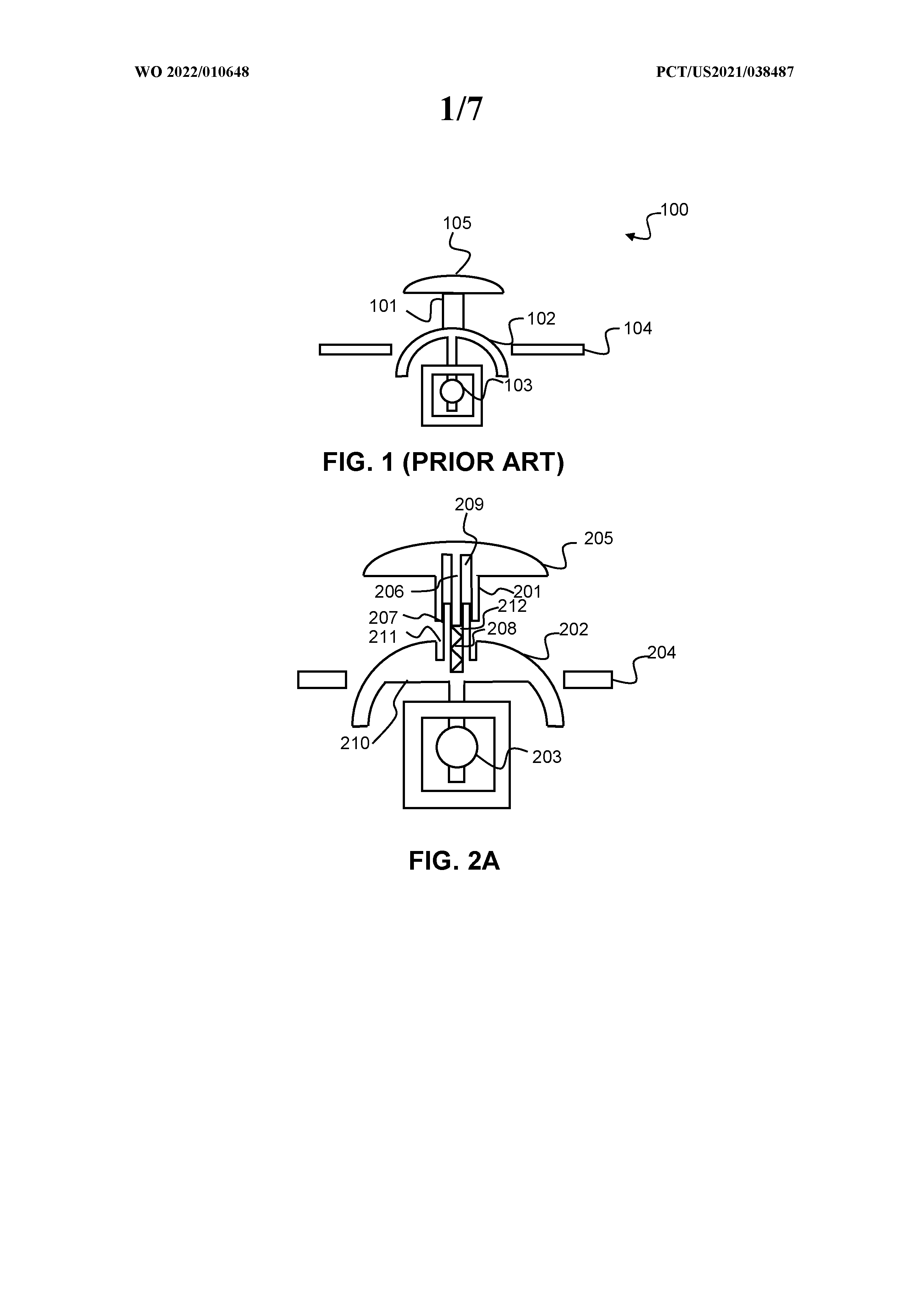
で、この“折りたたみ可能なアナログスティックを備えたビデオゲームコントローラ”特許、発明の背景によると携帯性を重視する機器においてはアナログスティックの選択肢が限られ、これまでに用いられてきたものだとアナログパッドはユーザーにとって非常に使いにくい物で、小型スティックはアナログパッドに比べれば操作性が優れている物の携帯性が犠牲になりスティックが引っかかり破損の原因にもなると紹介。
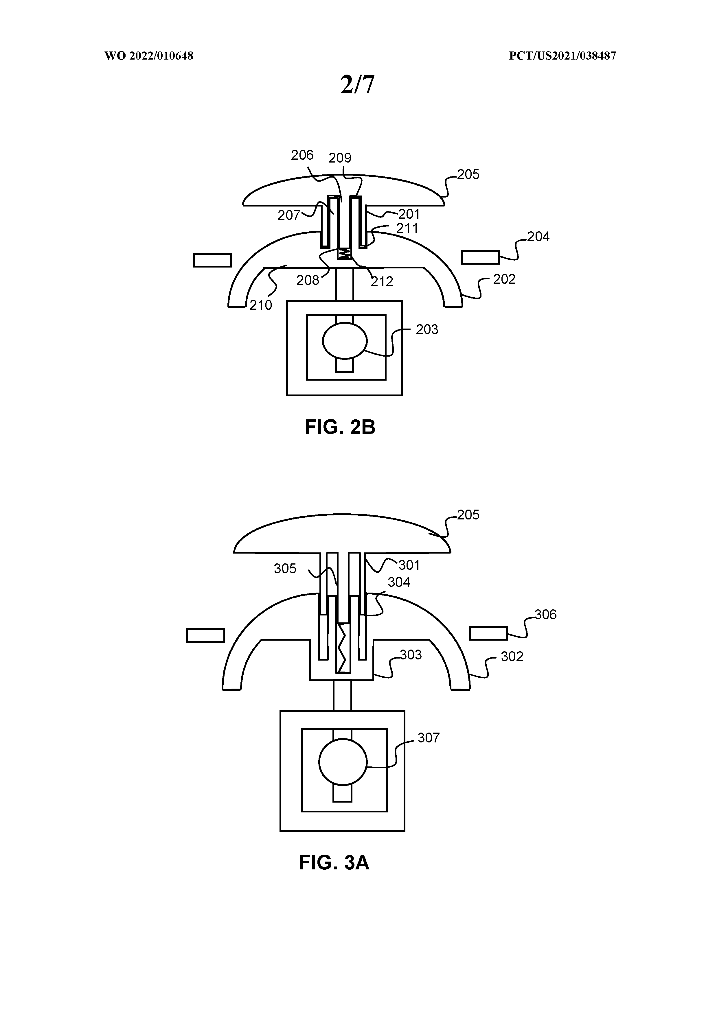
そこでこの折りたたみ機構…と出てきたのがこれですね。






伸縮機構については基本的にバネでテンションを保持する物を想定しているようで、押し込んだ際に回転させる事で固定するという部分もポンプに似た機構となっているようです。
実装形態のバリエーションとしてはその逆に回転させる事でバネの力で収納されないようにするという物も想定しているようですが、これはちょっと引っ張り出すのが面倒くさいかもしれませんね。
という事で基本的なアナログスティック収納の仕組みの説明が終わってしまったのでシステムについて。

こちらのブロック図を見れば分かる通り、一体型の携帯機としては想定されていない…のでしょうか。
プロセッサとメモリ、ストレージにインターフェイスはともかくとして828と830は何?と思われるかもしれませんが、本体内部にトラッキング用のLEDを内蔵し、それでコントローラをトラッキングする/或いはコントローラ側からインサイドアウト方式でトラッキングするための撮像センサが828、一方830はマイクロフォンアレイとなっており、外部に付けられた場合はコントローラに内蔵されたスピーカから発生した音声を用いてコントローラをトラッキングする音響レーダーとしての利用も考慮しているとされています。
本当にそんな事が可能なのかは知りませんけど。
コントローラが独立している件については任ッチがあんなんでも売れちゃいましたしね…
独立型のVRヘッドセットでも使えるようにと考えると、本体とは切り離せる形で存在していても良いのかもしれません。
PS携帯機の次世代モデルが計画されているかどうかは別として、電気自動車のVISION-SでPS5リモートプレイが可能になるという話も出ていましたし、携帯性に優れかつ操作性も犠牲としないコントローラの開発が継続して行われているようです。

・DualSense ワイヤレスコントローラー ギャラクティック パープル(CFI-ZCT1J04) (Amazon)
.










・プレイステーション ストアチケット 10,000円|オンラインコード版 ![PlayStation Plus 12ヶ月利用権(自動更新あり) [オンラインコード]](https://ecx.images-amazon.com/images/I/41Yvwmbjk9L._SX300_.jpg)






PS5 8/28 スーパーロボット大戦Y 















発明の背景の文脈もまんま携帯機のものになってるんでメインは携帯じゃないかなぁ