
意味がよく分からない部分もあるのですが。
クラウドサーバとローカルでエミュを同時に走らせておいて、同期する必要が薄い場面ではフレームレートや解像度を改善するって事ですかね。
スポンサーリンク
[J-PlatPat: 特表2020-522065 エミュレーションの選択的加速]
(21)【出願番号】特願2019-565381(P2019-565381)
(86)(22)【出願日】平成30年4月24日(2018.4.24)
(85)【翻訳文提出日】令和1年11月26日(2019.11.26)
(43)【公表日】令和2年7月27日(2020.7.27)
意外と出願から公開までの時間がかかっている特許ですが、
【要約】
【解決手段】より最新のコンピュータシステム上での、レガシーコンピュータシステム用に書かれたプログラムのエミュレーションの選択的加速が、開示される。ホストシステムは、ホスト出力と同期されるエミュレートされたプログラムアセットを処理する。エミュレートされたプログラムアセットとホスト出力との間の同期の必要性の低下が検出されるとき、エミュレートされたプログラムアセットの処理とホスト出力との同期が、ロック解除され、ホストシステムは、同期がロック解除された、エミュレートされたプログラムアセットの処理を加速する。
【背景技術】
【0003】
対象システム(例えば、レガシーデバイス)用に書かれたプログラムの、ホストシステム(例えば、異なるシステム、またはより最新版の対象システム)上のエミュレーションでは、しばしば、対象システムがホストシステムよりも高性能でないことがある。対象システムの能力の低下は、より遅いクロック速度またはシステムコンポーネントの応答時間となって現れることがある。対象システム用に書かれたプログラムは、対象システムのより遅い速度に依存することがある。この依存関係に起因して、エミュレートされたプログラムは、ホストシステムの最大ケイパビリティを利用することが出来ない場合がある。
【0004】
クラウドベースゲーミングシステムでは、処理の大部分が、クラウドベースサーバ上で行われる。これによって、クラウドベースサーバと通信しているクライアントデバイスプラットフォームは、クラウドベースゲームを処理するのにほとんどリソースを使用しないことが可能となる。現在の技術は、ゲームのロードをより高速にするためのインクリメンタルバッファリング、及びサーバとクライアントとの間の並列処理を実施する。しかしながら、この構成の結果として、クライアントデバイスとサーバとの間の通信は、同期されなければならない。クライアントデバイス及びサーバが同期されない場合、それは、異常な、または予期しないデバイスの挙動をもたらし得る。
【発明の概要】
【0005】
レガシーゲームのクラウドベースエミュレーションでは、クライアントまたはホストデバイスは、レガシーゲームが動作するようにプログラムされた対象システムよりも、著しく高性能であることが多い。その結果、クライアントデバイスが、ゲームのエミュレーションのために処理を加速し得る場合、エミュレートされたゲームの実行に対する改良が実現され得る。したがって、当技術分野において、エミュレートされたゲームの処理を加速する方法に対する必要性が存在する。
はいよく分からない。
ネットワーク越しのエミュレータというのがクラウドサーバで実行されるエミュレーションタイトルだったとして、何故にそれをホストシステムと同時に実行する必要があるのか、という部分ですね。




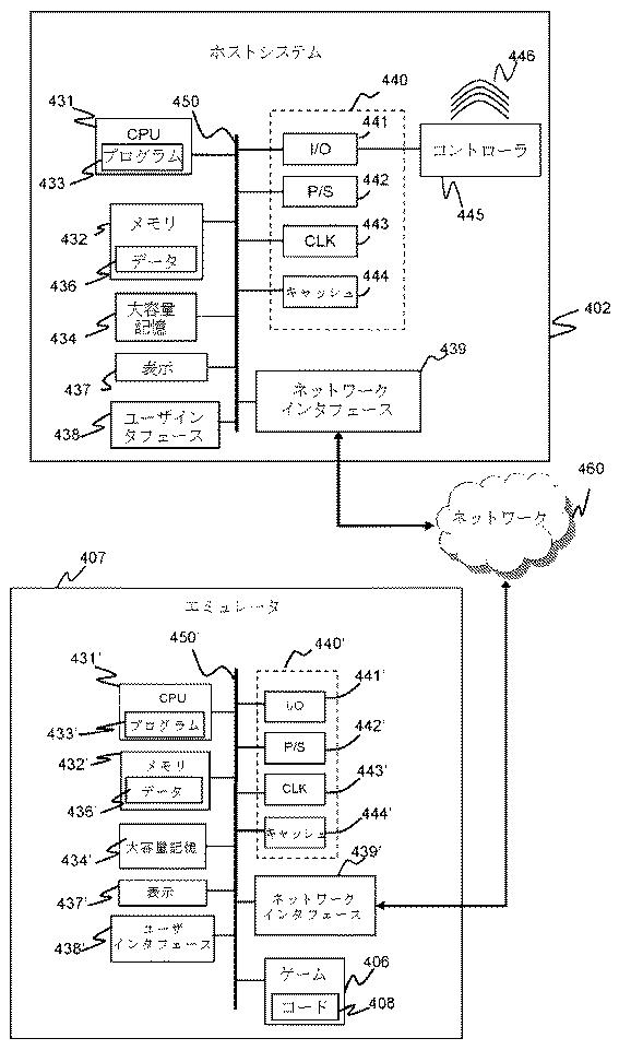
【0010】
本開示の態様によれば、ホストシステムは、ホストシステム100上の対象システム用に書かれたプログラムのエミュレーションを加速するための方式を実施し得る。ホストシステムは、結果となる出力(本明細書においてホスト出力と呼ばれる)を生成及び利用するために、ホストシステムによって処理され得るエミュレートされたプログラムアセットを生成することによって、エミュレーションプロセスを実行し得る。代替的には、ホストシステムが、プログラムアセットまたはホスト出力を生成し、それらを処理及び/または利用のためにネットワークを介してリモートシステムに送信し得る。エミュレーションを実施するホストシステムの場合、対象システムコードは、ホストシステムによって変換されてもよく、次いで、変換されたコードが実行されてもよい。実行中、ホストシステムは、ホストシステムの出力間で同期を維持するために、ホストシステムが命令を処理101する速度を低下させてもよい。例えば、プログラムの音声及び映像は、対象上で同期され得るが、そのプログラムがホストシステムの最高速度でエミュレートされるとき、ホストシステム上では音声が映像よりも早く進行し、元のプログラムがこの差を考慮するように設計されていなかったために、同期が失われることとなる。同様に、ホストシステムの最高速度でホストシステム上において動作するときに、ユーザが予期しないやり方でプログラムに挙動させる対象システムについて、プロセッサ速度がプログラム内の映像または音声の要素に依存することがある。これらの問題は全て、システムがエミュレーションを処理する速度を低下させない限り、ホストシステム上でのエミュレーションの品質を低下させる。したがって、エミュレーションの品質の損失を回避するために、ホストシステムは、エミュレートされた対象システムの速度で、エミュレートされたアセットの処理とホスト出力の生成とを同期させる。この妥協の結果として、ホストシステムは、より新しく、より高性能なデバイスであるにもかかわらず、対象システムプログラムを実行することにおいていかなる明白な改良も、エンドユーザに提供しない場合がある。
【0011】
ホスト上で対象システムプログラムの改良された性能を実現するために、ホストシステムは、図1に示される処理の選択的加速のための方法を実施する。ホストシステムは、102において示されるように、対象システムのエミュレーションとの、エミュレートされたプログラムアセットの処理の同期の必要性が減少したときに検出し得る。エミュレーションの必要性の低下によって特徴づけられ得る、エミュレーション中のいくつかの状況が存在する。多くのそのような状況の共通特徴は、エミュレートされたプログラムアセットの処理とホスト出力の生成との間の同期のレベルの低下または完全な欠如によって、ユーザエクスペリエンスが影響を受けないか、または拡張すらされるということである。このような状況のいくつかの限定的でない実施例は、音声、映像、または触覚の出力が、エミュレーションの他の態様または互いに同期される必要がない状況を含む。
そもそもどういう特許なのか根本的な所を理解出来ていない部分はあるのですが、クラウドサーバでエミュレータを実行しストリーミングする際の利点はホストシステム側の性能が必ずしも高くなくてもよいこと、一方欠点は通信に時間と帯域が必要とされるという部分ですから、ホストシステム側の性能が十分にある場合にクラウドサーバ側のエミュレータに互換対応するゲーム機との互換性は高いが余剰となる性能の恩恵が受けられないプログラム実行を任せておき、ホストシステム側で実行する“加速された”互換ゲーム実行に問題が出た場合に同期を行うことで互換動作時の不具合発生を防止する、みたいな話なのでしょうか。
よく知られている…かどうかはともかく、PS4でも過去のゲーム機のエミュレータが動いては居るんですよね、全タイトルの互換に対応できると保証できない為か一般ユーザーが使えるようにはなっていませんが。
PS5はより高性能となる為、エミュレーションで対応しうるPS3タイトルも増えていそうですが…その辺がどうなるかはよく分からない部分も多いですね。
現状のPSNowの場合、PS3ソフトを実行するのはPS3に使われているのと同じCPUとGPU、という割と無駄の多い組み合わせではあるわけですけど、これがあればホストシステムとクラウド側のエミュレータの同期がズレる(不具合が発生する)場所が特定しやすくなってエミュレータの開発にも役立つ、という可能性もあるかもしれません。

・PS4 10/29 ウォッチドッグス レギオン【初回生産限定特典】「ゴールデンキングパック」プロダクトコード 同梱 - PS4【CEROレーティング審査予定 (「Z」想定) 】 (Amazon)
.










・プレイステーション ストアチケット 10,000円|オンラインコード版 ![PlayStation Plus 12ヶ月利用権(自動更新あり) [オンラインコード]](https://ecx.images-amazon.com/images/I/41Yvwmbjk9L._SX300_.jpg)







PS5 8/28 スーパーロボット大戦Y 













