
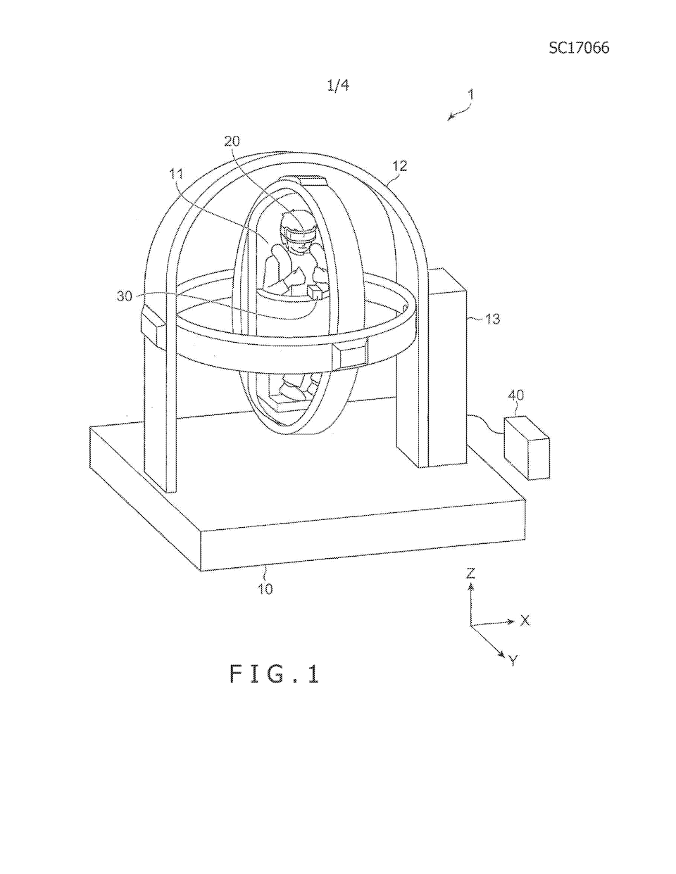
実際に製品化するつもりがあるかどうかはともかく、この造りならR-360よりは安上がりなシステムに出来るのでしょうか。
スポンサーリンク
via ResetEra
[US Patent&Trademark Office: POSTURE CONTROL SYSTEM]
出願者はSony Interactive Entertainment Inc.(株SIE)なのですが、発明者がONUKI,Yoshikazu(横浜)となっているんですよね。
何故わざわざ横浜との記載があるのかですが、ソニーの厚木テクノロジーセンター…は横浜じゃ無いですね、単に横浜に住んでるってだけなんでしょうか。
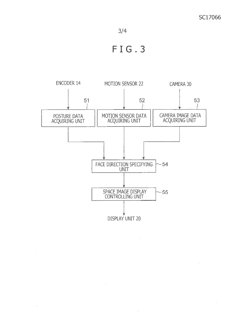
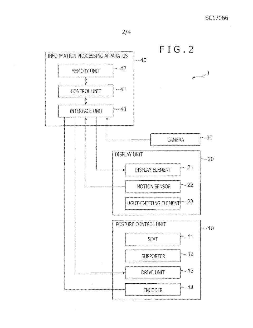
ともあれ、この特許はVRで体の向きを変更させつつもヘッドトラッキングを実現するシステムの特許ですね。

10がユニット全体、サポーターで2つのリングを支え、プレイヤーの頭の向きは30のカメラでトラッキング。
処理はユニットの外に置かれた機器40が担当。


そして姿勢データを統合してVR HMDのディスプレイに映像を…
というのですが、これどうやって接続するのかが問題になりそうですかね、接点が回るようにしても摩耗しそうですし、何かしらの無線接続は必要になりそうですが。

・モビルスーツ アンサンブル 05 ゲドラフ&アインラッド 機動戦士ガンダム MOBIL SUIT ENSEMBLE 05 (Amazon)
.










・プレイステーション ストアチケット 10,000円|オンラインコード版 ![PlayStation Plus 12ヶ月利用権(自動更新あり) [オンラインコード]](https://ecx.images-amazon.com/images/I/41Yvwmbjk9L._SX300_.jpg)






PS5 8/28 スーパーロボット大戦Y 














