
1四半期前ぐらいに公開された特許ですが、PS3出荷終了などの話題からして意外とこの手のネタが拾われる事例が少ないようなので…
スポンサーリンク
via 当ブログのコメント欄より。
[J-Platpat - 特開2017-028369(照会結果)]
当該特許はソニー・インタラクティブエンタテインメントから出願された「アンテナ、情報処理装置、および情報端末」なのですが…
(57)【要約】
【課題】情報端末の小型化、多機能化とアンテナ特性を両立させる。
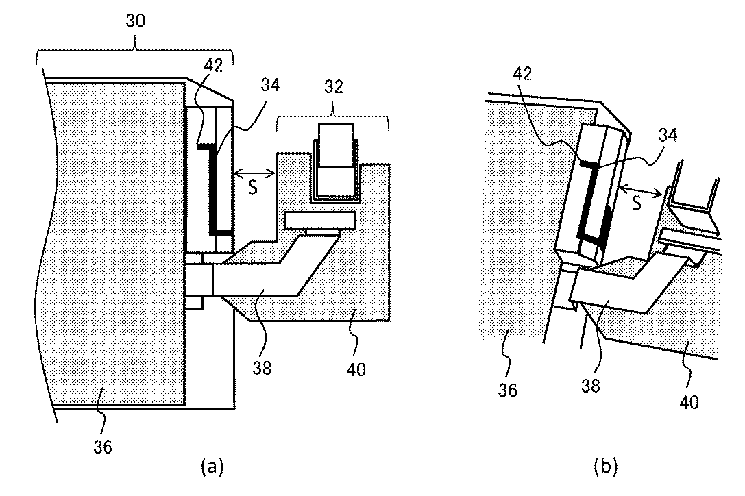
【解決手段】情報端末の主動作部に内蔵される主基板部30の端にアンテナ素子34を設け、給電点42から給電する。また、ユーザが把持して操作を行う入力手段を備えた入力部に内蔵される副基板部32の回路基板40を、アンテナ素子34の中心軸と平行に、空間Sを隔てて基板の一部の左辺が位置するような配置および形状とすることで、無給電素子として利用する。
今一何を言っているのか分からないですよね…これは単に私の知能が足りていないからという問題もあるのですが。
ともあれここでのポイントはというと。
「情報端末」…つまりゲーム機本体部分と、「ユーザが把持して操作を行う(略)」…つまりコントローラ部がある程度明示的に本体から分離した構造を備えた携帯ゲーム機であるということですね。
この特許、そのコントローラ部側に「アンテナ素子34」を備えているわけですが…まあ色々省略すると(個人的にも完全には理解していません)、
【0034】
例えば本実施の形態では回路基板を無給電素子として利用したが、装置内部のモジュールとして接地電位に短絡させる導体があれば、それを利用してもよい。この場合も、当該導体がアンテナ素子の最長直線部分と間隙を有して平行になるような回路構成とすれば、本実施の形態と同様の効果が得られる。
にあるように、無給電の導体がアンテナ素子と平行になるよう配置されていればアンテナ特性が改善されるらしいですね。
よく分からないまま話を進めても仕方が無いので図に移りますが、

まずこれは操作部が本体に取り付けられているかのような見た目の携帯機ですね。
構造を見れば分離機構は備えていない筈なのですが、スマにコントローラを付けたようだと評されるようなポンチ絵ではあります。
続いて回路基板40のあるなしのグラフと図…


何かこちらを見ると操作部が分離しそうな図にも見えるのですが。
ともあれ、この「回路基板40」追加で改善される利得が基本的には600MHz以下~900MHz辺りまでという事で、この特許が基本的にはデータ通信用としては低めの周波数帯…携帯電話では「プラチナバンド」と言われている辺りの感度改善を主眼に置いた物で、WiFiよりはLTE通信などのWAN通信に主眼を置いた物である可能性は高そうです。
という事でこれら特許から想定される携帯ゲーム機がどういう形態になるかですよね。
LTE通信に対応し、かつ操作部をある程度明示的に本体から離した位置に置くことで操作性を改善、ひょっとしたらスマVR的な利用を行うモードのために操作部を分離する機構を備えるかもしれない、LTE等による持ち出し時にも通信可能とする、といった特性がある、のかも。
WANに関しては、以前の特許でもSIMカードスロットを設けることを明示していましたし。
これらの想定から考え得る問題点は、グリップとスティックなどの大型化による本体サイズの大型化及び重量増加や、仮に操作部の分離機構が存在するとすればNintendo Switchと同じく強度やコスト面での問題が生じうるという部分でしょうか。
ただ、平たくて高性能という部分ではスマートフォンがコスト的にもゲーム機では追いつけないぐらいの勢いで突き詰めているので、サイズを増やしてスマホが不得意とする部分を強化するという線はありかもしれないですね。
またコントローラ部分離の可能性に関しては、コントローラ側に無線通信機能や電池を持たせなければ(≒本体を独立させてのスマVR的運用を重視するのであれば)さほど重いコストとして跳ね返っては来ない可能性もありそうです。
その場合どうやってコントローラとして使うのかという部分ですが、ニシッチのジョイコングリップ側に電池と通信機能を持たせれば良い可能性もある。
下手するとDS4を新たに買った方が安く上がる場合がありそうですが…
この特許、回路基板40ありなしで以前より具体的な透視図が描かれているのは気になる所ですよね。
まあ仮に、本当にE3 2017で発表されるのであれば既に最終的な製品は仕上がっているのでしょうから、あれこれ言っても何が変わるというものではありませんが。
SSD搭載可能なら良いなあ、とはそこで搭載されなくても後期型で搭載されれば嬉しいのでしつこいぐらい主張して行きたいと思います。

・PS4 8/31 New みんなのGOLF【早期購入特典】20周年記念コース1&コスチューム (ウサギ) がダウンロードできるプロダクトコード封入 (Amazon)
.











・プレイステーション ストアチケット 10,000円|オンラインコード版 ![PlayStation Plus 12ヶ月利用権(自動更新あり) [オンラインコード]](https://ecx.images-amazon.com/images/I/41Yvwmbjk9L._SX300_.jpg)






PS5 8/28 スーパーロボット大戦Y 














