
割とこう珍妙な形状ではありますが…
スポンサーリンク
[IP Force - 特開2017-35138] image via J-PlatPat
これは「操作装置」の特許ですが、
19)【発行国】日本国特許庁(JP)
(12)【公報種別】公開特許公報(A)
(11)【公開番号】特開2017-35138(P2017-35138A)
(43)【公開日】平成29年2月16日(2017.2.16)
(54)【発明の名称】操作装置
(51)【国際特許分類】
A63F 13/24 (2014.01)
A63F 13/92 (2014.01)
G06F 3/0338 (2013.01)
【FI】
A63F 13/24
A63F 13/92
G06F 3/0338 411
【審査請求】未請求
【請求項の数】11
【出願形態】OL
【全頁数】29
(21)【出願番号】特願2015-156479(P2015-156479)
(22)【出願日】平成27年8月6日(2015.8.6)
(71)【出願人】
【識別番号】310021766
【氏名又は名称】株式会社ソニー・インタラクティブエンタテインメント
(74)【代理人】
【識別番号】110000637
【氏名又は名称】特許業務法人樹之下知的財産事務所
(72)【発明者】
【氏名】橋本 誠
(72)【発明者】
【氏名】宮崎 良雄
(72)【発明者】
【氏名】荒木 孝昌
(72)【発明者】
【氏名】楠 俊宏
という事で出願日は結構前になっていますね。
(57)【要約】
【課題】把持しやすい操作装置を提供すること。
【解決手段】操作装置(情報処理装置1A)は、本体部と、本体部の一端側に設けられた操作部(右側操作部3)とを備え、操作部は、外装を構成する操作部側筐体(外装構成部32A)と、操作部側筐体に配設され、入力操作を受け付ける入力部(アナログコントローラーBC1、ボタンBC2,BC4,BC5)とを備え、操作部側筐体は、使用者の片手によって把持される把持部GPRを有し、把持部GPRは、片手における1つの指(薬指RH4)が当接される第1当接部CP1と、当該1つの指とは異なる他の指(小指RH5)が当接される第2当接部CP2と、当接部CP1,CP2とは反対側に位置し、片手における所定の部位(拇指球RH6)が当接される第3当接部CP3と、各当接部CP1,CP3の間の第1寸法、及び、各当接部CP2,CP3の間の第2寸法を、それぞれ調整可能な調整部と、を有する。
【選択図】図13
とされているので、操作装置限定での情報開示となっているようです。
この他、「特開2017-37371(P2017-37371A)」は
(57)【要約】
【課題】小型の振動子を採用できる操作装置を提供すること。
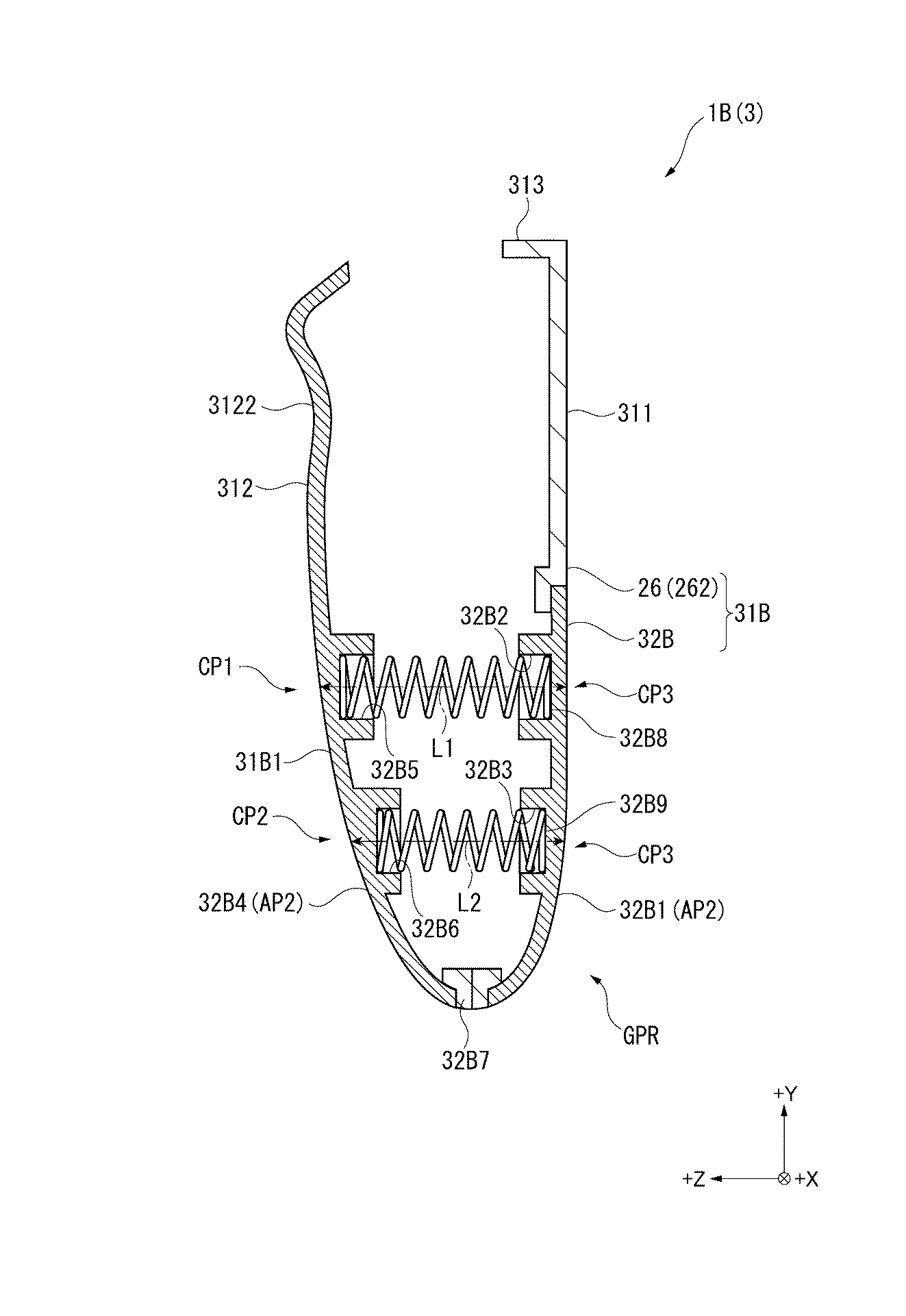
【解決手段】使用者によって把持される筐体31と、筐体31に配設されて入力操作を受け付ける入力部と、筐体31内に配置されて振動を発生する振動子(モーター33)とを備え、筐体31は、筐体31における第1側面部(正面部311)の少なくとも一部を構成し、振動子と接続される第1筐体構成部(右側延出部26)と、筐体31において第1側面部とは反対側の第2側面部(背面部312)の少なくとも一部を構成し、振動子及び第1筐体構成部のそれぞれに接続され、使用者と接触する第2筐体構成部(外装構成部32)とを有し、第1筐体構成部は、第2筐体構成部より重量が大きく、第2筐体構成部における端縁のうち一部の端縁32Lと、当該一部の端縁に対向する第1筐体構成部の部位との間には、隙間G3が形成されている。
【選択図】図11
という風に、グリップ部に内蔵される振動子に関する特許となっているので他にも関連する特許がありそうなのですが…
という事で図を元にその機能を想像してみましょうか…まず図1、何かちょっと接続部が頼りない感もありますが、何かグリップが外れそうな見た目はしていますね。

図2も同様…何となくデタッチャブル感のあるコントローラ部ですが、外れるかどうかは何とも。

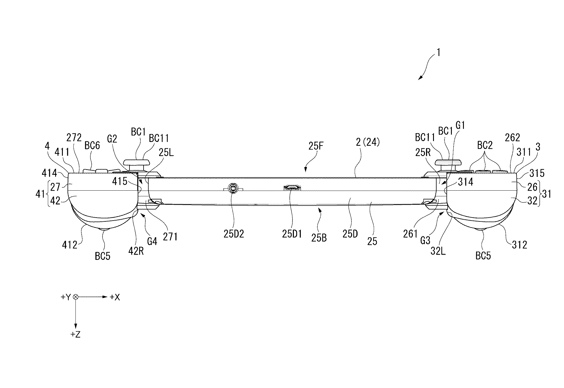
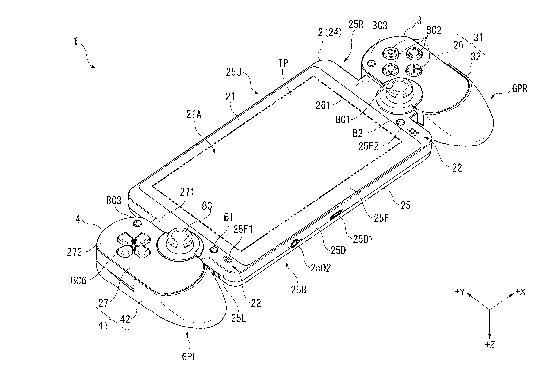
図3は裏面より…アナログの丸いところは何なのでしょうね。

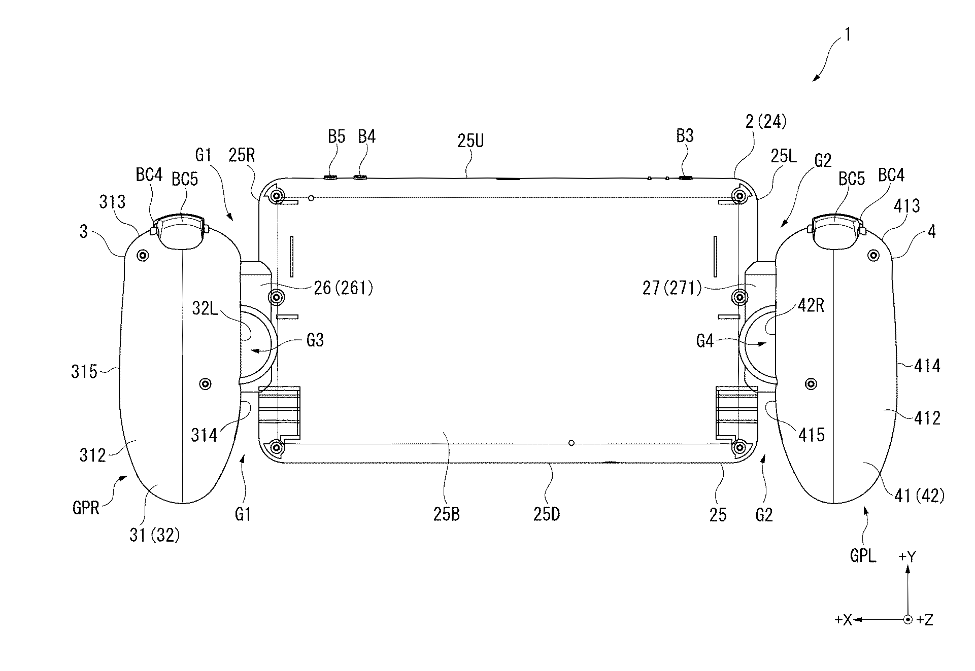
図4は上より…L2R2の存在が確認出来るほか、ボリューム調整ボタン、カードスロット?*2、USBコネクタ、インジケータと電源ボタンでしょうか。

図5は下より…下にイヤホンジャックの他、こちらにもUSBコネクタがある?

全部25~でまとまっているところが気になる所ですね。
図6はこれ完全に操作装置とは関係ないような気がするのですが、入出力部の事なのでしょうか。

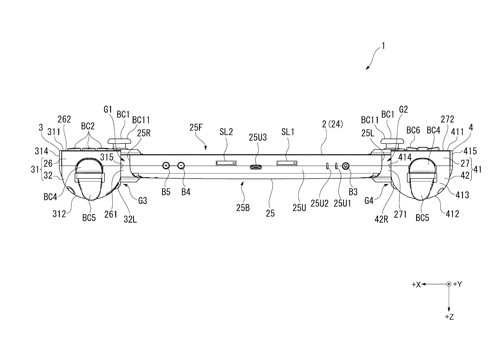
図7は右より。アナログスティックはDS4のそれに準ずるような形状となっていそうです。

図8は左より。

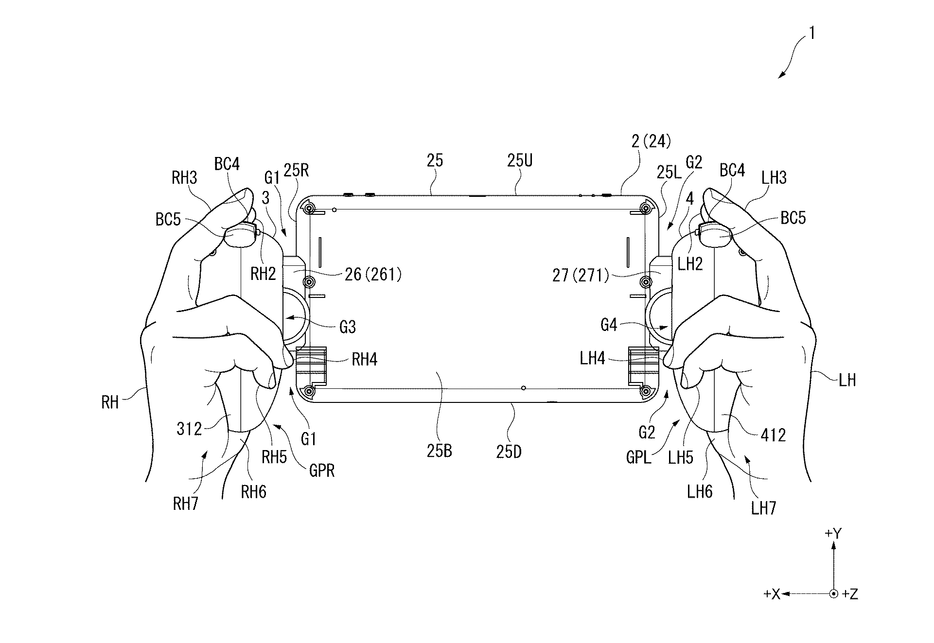
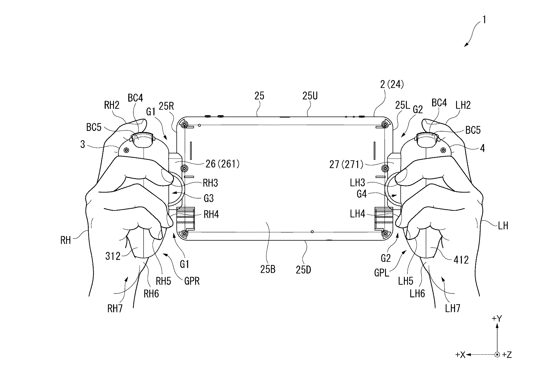
図9は背面より手で持った場合の形状…携帯ゲーム機としてはこれでかいようにも見えますね。

図10は中指でL2R2押す派。

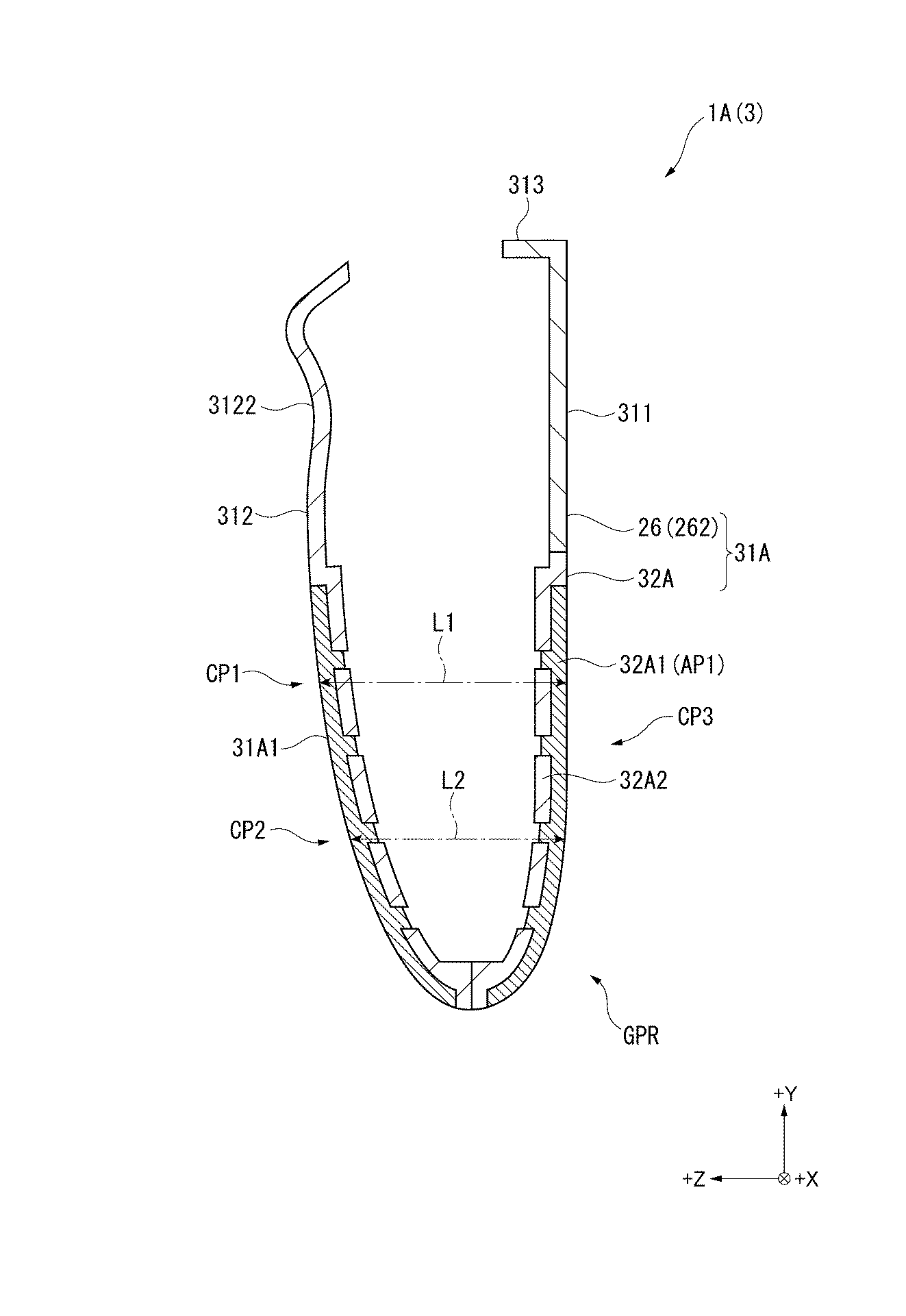
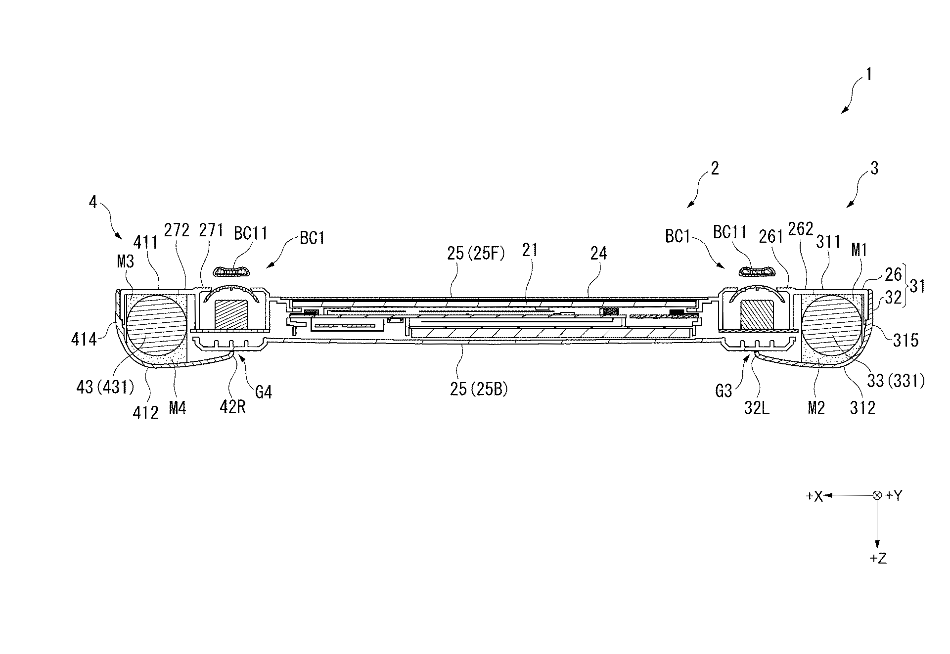
図11は断面図…このグリップ内の丸いところが振動子のモーターと。

この特許の範囲に含まれているかどうか不明瞭ですが、アナログスティックが以前出願していたフォースフィードバック対応の物かは不明です。
本体の中身も気になる所ですけどね…
図12は操作部の右からの断面図。

33が振動子ですね。
図13は左から、グリップ部を手で持った場合を図示。

形状的にはDS4と同じような考え方でしょうか。
図14はグリップ部断面形状。

図15は…分からない。何かバネを仕込んで握り込むことでも反応が得られるようにでもなっているのでしょうか。

図16にスイッチみたいな物があるので、握り込むことでも何か入力が可能になるとか?

…といった所ですね。
これらの図がいつ追加されたものか不明瞭なので、これが最終的なPSP3(仮)になるかどうかは不明ですが…
考えられている方向性としてはよりゲームコントローラ部の操作性を上げる方向を目指しているようです。
ニシッチみたいに持ちにくい形ではないものの、かなりサイズ的に大きくなりそうなのをどう考えるかですけどね。
続報というか本体周りの特許も公開されたら見てみたいところではあります。

・ワイヤレスコントローラー (DUALSHOCK 4) ウェイブ・ブルー (CUH-ZCT2J12) (Amazon)
.










・プレイステーション ストアチケット 10,000円|オンラインコード版 ![PlayStation Plus 12ヶ月利用権(自動更新あり) [オンラインコード]](https://ecx.images-amazon.com/images/I/41Yvwmbjk9L._SX300_.jpg)







PS5 8/28 スーパーロボット大戦Y 













